整備士ドットコム
Jidoshaseibishi.com
複数条件の場合はキーワードの間にスペースを入れてください。
Advertisement
2級ガソリン自動車整備士・試験問題
2G 登録試験 2024年10月 問題31
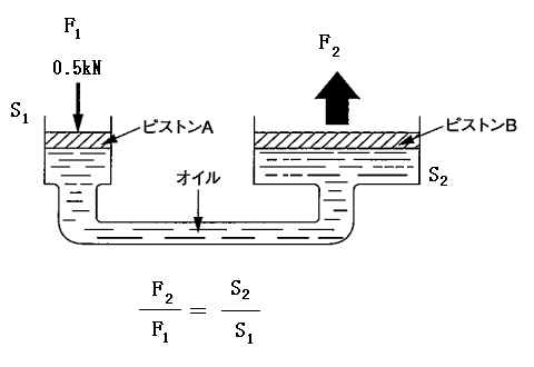
図に示す油圧装置でピストンAの直径が12mm、ピストンBの直径が48mmの場合、ピストンAを0.5kNの力で押したとき、ピストンBにかかる力として、適切なものは次のうちどれか。
解説
ピストン面積$S$と受ける力$F$は比例関係にあります。
面積比と力の比を対比させればよいことになります。

面積比では、入力、出力側どちらの面積$S_1$、$ S_2$にも \( \Large{ \pi } \)がつきますので、\( \Large{ \pi r^2} \)の計算が必要になりますが、分母分子 \( \Large{ \pi } \)はキャンセル(約分)されます。
題意の$0.5kN$は、$500N$として計算しています。
上の式を変形させると、
\[ \begin{align*} F_2 &= \frac{S_2}{S_1} \times F_1 \\ \\ &= \left( \frac{\cancel{48}}{\cancel{12}} \right)^2 \times 500 \\ \\ &= 4^2 \times 500 \\ \\ & = 16 \times 500 \\ \\ & = 16 \times \frac{1,000}{2} \\ \\ &= 8,000N \end{align*} \]